
Contact us
Call
Call us at
Available 6:00 AM – 5:00 PM (PST) Business Days
Download
Download Manuals, Datasheets, Software and more:
Feedback
Additional Accessories
Travel Accessories
The products on this datasheet are no longer being sold by Tektronix.
View Tektronix Encore for reconditioned test equipment.
Check support and warranty status for these products.

Travel Accessories
Features & Benefits
Portable Instrument Transit/Carrying Cases
- High Strength
- Foam Padding
- Custom Fit
- Air Pressure Control Valve for Air Transport
Portable Instrument Protective Covers
- Custom Fit
- Waterproof Vinyl for Complete Enclosure of High-impact Plastic for Front Panel Enclosure
Front Covers
- Snap-on Front Cover
- High-impact Plastic
Power Supplies
- Wall Mount Power Supply
Rechargeable Battery Pack
- Battery Packs
- Cigarette Lighter Plug-ins
Instrument foot switch
- Foot Operated Start, Switch Measurement
Applications
- Portability
- Storage
Highly Mobile Environments of Designers, Installers and Service
- Telecomm
- Video
- Industrial Electronics

Complete Covers.
Portable Instrument Transit/Carrying Cases
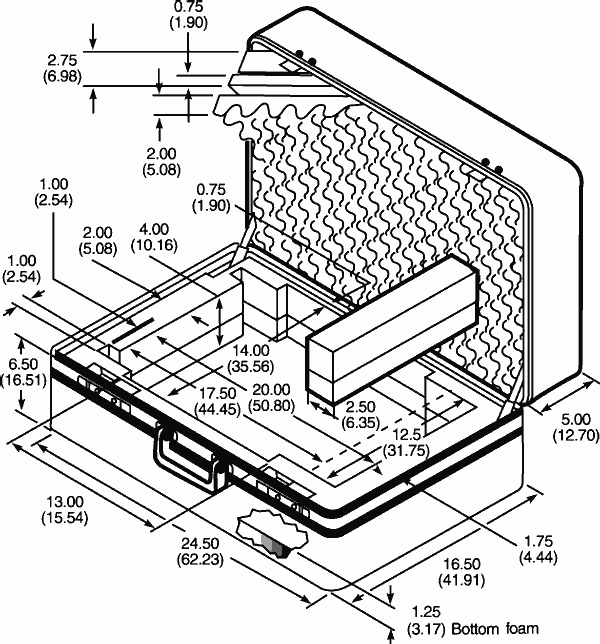
Rugged transit cases molded of high strength glass-epoxy protect your instruments from hostile environments, shock, vibration, moisture and impact. Recommended for shipping or transporting your instruments. Adjustments can be made to the internal padding to accommodate a wide variety of portable instruments and accessories.

HCTEK321 Transit Case for Oscilloscopes
The HCTEK321 is a ruggedized transit case specifically designed to provide travel and storage protection for TDS3000B, TPS2000, TDS2000, TDS1000 and TDS200 Series oscilloscopes. The case protects instruments from shock, vibration and moisture and provides room for associated accessories, such as probes, adapters and manuals.
Other features include an air pressure equalization control valve for use during air transport and security rings for use with locks (locks not included).
The HCTEK321 consists of a heavy duty outer shell and an inner layer of foam. The oscilloscope is placed in a AC3000 (TDS3000B) or an AC2100 (TPS2000, TDS2000, TDS1000 or TDS200) soft case, and inserted into the foam cavity. The AC3000 or AC2100 soft case is a required component of this system and must be purchased separately.
Portable Instrument Protective Covers
The covers provide protection for the instruments during transport or storage. Made of waterproof vinyl, the covers are available for both laboratory and portable instruments. The covers for 5000/7000 series have clear vinyl frontal areas.

016-0792-02 (Shown).

Front Covers Only.
Front Covers
Front covers are available for most portable oscilloscopes, spectrum analyzers and TM500/5000 mainframes.
Characteristics
HCTEK321
Features - Removable inserts for use with TDS3000B, TPS2000, TDS2000, TDS1000 and TDS200 series oscilloscopes.
Air Pressure Control Valve.
Material
Case - Ultra-high-impact Structural Polypropylene.
Foam - Polyurethane (80 ILD).
Physical Characteristics
|
Dimensions |
mm |
in. |
|---|---|---|
|
Outside |
||
|
Inside |
||
|
Weight |
kg |
lb. |
|
Length |
590.55 |
23.25 |
|
Width |
527.05 |
20.75 |
|
Depth |
229 |
9 |
|
Length |
559 |
22 |
|
Width |
432 |
17 |
|
Depth |
203 |
8 |
|
Shipping |
12.23 |
27 |
Color - Black.
Note - (Requires purchase of AC220 for use with TPS2000, TDS2000, TDS1000, or TDS200 series, or AC3000 for use with TDS3000B series oscilloscopes).
Ordering Information
HCTEK321
Transit Case - For TDS3000B, TPS2000, TDS2000, TDS1000 and TDS200 series oscilloscopes.
Standard Accessories: Data Sheet.
(Requires purchase of AC220 for use with TPS2000, TDS2000, TDS1000 or TDS200 series, or AC3000 for use with TDS3000B series).
Portable Instrument Transit/Carrying Cases
Hard Sided Case - 271X family. Order 016-0792-02.
Soft Sided Case - 271X family. Order 016-1158-01.
278X, 279X family, OF150, OF235. Order 016-0659-00.
Carrying Strap - 2200/2300 Series, 271X family. Order 346-0199-00.
Transport Case - TDS7000. Order 016-1522-00.
Accessory Pouch - TDS7000. Order 016-1441-00.
Front Covers
2400 Series - Order 200-3199-01.
2245A, 2246A, 2247A - Order 200-3232-01.
2235A, 2236A/271X Family - Order 200-2520-00.
TDS400 Series - Order 200-3232-01.
TDS500/600/700 Series - Order 200-3696-01.
TDS7000 Series - Order 200-4519-00.
TDS8000 Series - Order 200-4519-00.
CSA8000 Series - Order 200-4519-00.
Power Supplies
Rechargeable Battery Pack - 2 x 4 V, 224. Order 146-0075-00.
Cigarette Lighter Plug Power Cable Adapter - 224. Order 174-1734-01.
Power Supply TSG90 - 1.2 W; 12 V 100 mA, unregulated, 120 V AC 60 Hz, 183 cm CABL. Order 119-4488-00.
Alkaline Battery A622 - 9.0 V, 55OMAH, 1604 A cell (9 V type package), low mercury. Order 146-0094-00.
Wall Mount Power Supply RC210 - 211 115 V AC, to 9 V DC-1A. Order 119-4242-00.
Accessories
Instrument Foot Switch - SPDT, 7 A, 125 VAC with micro phone plug. Order 260-1189-02.
